Darrell Mann
Industrial Fellow, Department Of Mechanical Engineering
University Of Bath, Bath, BA2 7AY, UK
Phone: +44 (1225) 826465
Fax: +44 (1225) 826928
E-mail: D.L.Mann@bath.ac.uk
Introduction
‘The Evolution of Useful Things’ by Professor Henry Petroski (Reference 1) is a fascinating historical account of the evolution of everyday objects. The book uses a number of richly detailed case studies - from cutlery to hamburger wrappers, and paper clips to telephones - to build up a general picture of why things evolve the way they do.
This article takes a brief glimpse at some of the case studies in Professor Petroski’s book from the perspective of Altshuller’s predicted trends of evolution, and examines how some of the findings in the book might in turn influence the manner in which the evolution trends are interpreted and used.
The Fork
One of the most interesting historical accounts in the book concerns the evolution of the eating implement we know as the fork. The fork story begins in the Middle Ages, when diners would usually be found eating with a pair of knives; one knife to do the cutting, and the other to take care of the holding of the food being cut. This method of eating prevailed - in Europe at least - until around the 14th Century, when two-tined forks first appeared in large quantities at the dinner table. It is suggested that the evolution from pointed knife to two-pronged fork occurred because of the problems of holding food in place with a single pointed device where the food in question was largely free to rotate about the point and thus impeded the cutting action. Introduction of the second prong eliminated this rotation problem.
The problem then, however, was that, although good for holding, the fork was of little use in carrying food from the plate to the mouth. And thus emerged three-tined forks, and, even better, by the early eighteenth Century, the four-tined fork we know today.
Perhaps unsurprisingly, this evolution from the single point to a multiple point device correlates closely to the TRIZ ‘mono-bi-poly evolution’ trend illustrated in Figure 1.

Figure 1: Mon-Bi-Poly Evolution of the Fork
The fork evolution story forms the first chapter in the book. It serves to introduce Professor Petroski’s hypothesis that devices evolve the way they do because of a dis-satisfaction on the part of the user in the way the current system works. Or, to use the author’s words, ‘form follows failure’.
The fork story raises a number of interesting side issues. The first concerns the manner in which fork designs have multiplied to meet specific requirements. The proliferation of designs illustrated in Figure 2, not only provides further justification for the ‘form follows failure’ argument, but also demonstrates the enormous level of compromise required when trying to achieve the ‘generic’ fork design which most of us end up buying.

Figure 2: Diversity of Fork Designs (picture adapted from Reference 1)
Specialised fork designs include; ‘oyster’, ‘berry’, ‘pickle’, ‘ice-cream’,
‘lettuce’, ‘pastry’,
‘salad’, ‘fish’, ‘terrapin’, and ‘lobster’ variations.
Also interesting is Petroski’s view that
luxury - and not necessity - is the mother of invention, and that evolution of artefacts is driven by our desires rather than our actual needs. Thus, while we need to eat food, we don’t need to use a fork. On the other hand, if we are using a fork, we want a design which performs the function without the adverse effects - and hence the proliferation of design shown in Figure 2. Similarly, while we need air, we do not intrinsically need air conditioning. If we have air conditioning, however, we want it to become quieter, cheaper, more efficient, less intrusive, more attractive, etc, etc.With respect to the predicted trends of evolution it is worth noting the next fork evolution step - to a ‘combined poly-system’ - in relation to the emergence (and disappearance) of inventions like the ‘splade’ and other knife/fork/spoon amalgam designs - and how they have thus far failed to achieve sufficient added value to capture the public imagination.
We might also care to look at other predicted trends (e.g. ‘dynamization’) to see how the fork might evolve when addressing the diverse requirements illustrated in Figure 2.
Fasteners
Among a myriad other examples, the history of fasteners is another entertaining and instructive story told in Professor Petroski’s book. In the story, we watch as clothing fasteners evolve from pins and brooches to clips and buttons, hooks and eyes, and on through to the zip fastener.
The evolution history is highly consistent with both the ‘mono-bi-poly’ trend illustrated in Figure 1 and the ‘geometric evolution of linear constructions’ trend illustrated below in Figure 3:

pin brooch
safety-pin button hook/eye
zip fastener
Figure 3: ‘Geometric Evolution of Linear Constructions’
Evolution Trend
(picture from TechOptimizer (Reference 2) software)
(Note also how the geometric evolution trend can also be applied in the previous fork evolution story with respect to the evolution from 1D points, to 2D flat forks, to the three dimensional curved fork we see today.)
Again, with the fastener story, the ‘form follows failure’ argument is convincingly used to justify the evolution path:
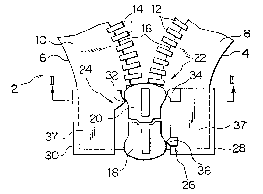
Zippers first appeared in the last century, but new variants are still being patented today - e.g. the 1998 patent illustrated in Figure 4. Although clearly using three-dimensional design methods (and thus laying at the farthest point on the geometric evolution trend), and sitting a long way along the ‘poly’ evolution path, the zipper is still some way away from an ideal final form. The fact that we can still see ‘problems’ like poor water-proofing capability, cleaning difficulty, starting difficulty, tendency to snag and trap flesh or other clothing, etc, clearly suggests that the zipper - or its successor - still has a long way to travel before we will finally be satisfied.

Figure 4: Typical Zip Fastener - US Patent 5,791,023
(aimed at improving ease of joining and starting)
Form Follows….
Large sections of Professor Petroski’s book are concerned with arguments against the doctrine ‘form follows function’.
He argues that the single largest factor behind technological change is the failure of existing devices to live up to their promise. The fork and fastener examples above are just two of a large number of examples consistent with this ‘form follows failure’ hypothesis.
The book, however, also contains the observation of two other variants on the ‘form follows..’ theme: ‘form eschews function’, and ‘form follows where the future leads’.
‘Form eschews function’, or ‘form follows fashion’ is a design strategy in which the designer ignores function requirements and places aesthetics, novelty and style at the top of the list of aims for the artefact. Examples are numerous, particularly across the worlds of fashion, packaging design and certain consumer goods (e.g. boom-boxes). In purely technological evolution terms, few if any ‘form eschews function’ designs have much to offer by way of either long term impact or predictability. The point here is that although Altshuller’s observations on the predictable evolution of technical systems offer companies a very powerful product development strategy tool, consideration also needs to be given to transient ‘form follows fashion’ possibilities.
Regarding the ‘form follows where the future leads’ observation, Petroski states, ‘There are a lot of difficult problems in design, and their solution necessarily depends not only upon where designers understand the problems with the past to be but also upon how clearly designers see the road to the future’. In essence, ‘form follows where the future leads’ is a plea for designers to look forwards as well as backwards when configuring design solutions. The main example used in the book is McDonald’s polystyrene-foam clamshell hamburger container. At the time of it’s introduction in the mid-70s, it was felt that the clamshell overcame all the failings of previous packaging; it kept in heat and moisture, it absorbed grease, it was simple to operate, easy to store, and it was attractive. Unfortunately, little attention was apparently given to possible future circumstances and situations in which the product would operate - namely, as it turns out, a greater public awareness of environmental issues, and the enormous difficulties in adequately disposing of literally tons of used polystyrene foam.
There are connections here to both Axiomatic Design and TRIZ - Axiomatic Design via the correct definition of Functional Requirements (see the pizza box example in Reference 3), and TRIZ via both Anticipatory Failure Determination (Reference 4, 5) type techniques, and the more general use of inventive problem solving techniques to eliminate the anticipated future design contradictions.
Discussion
1) How Poly Is Poly? - Taken together, the fork and the fastener stories highlight a distinct characteristic surrounding the deployment of the ‘mono-bi-poly’ trend. The fork, despite occasional forays into five and even six-tine designs, has stuck resolutely to the four-tine design since it’s first appearance at the dinner table. The zipper meanwhile has evolved to progressively greater numbers of meshing teeth. Petroski argues that four tines is an optimum (i.e. five or more tines means either the fork is too wide for the mouth or the tines are too thin to provide the necessary strength and durability), while the zipper may be seen to still be evolving towards an optimum in which there are an infinite number of teeth (and sealing performance is thus maximised). Strength, durability and other limits will again, however, ultimately limit the maximum practically achievable tooth density (and the zipper will be replaced). In other words; ‘poly’ will evolve to a practical limit before the system becomes superceded.
2) Symbiotic Evolution - Petroski makes an important point about the way the evolution of objects can be strongly influenced by the evolution of other objects. This ‘symbiotic evolution’ appears to take two forms: Firstly, evolution due to the possible inter-relationship between different objects, and secondly evolution which occurs as a function of the way in which man interacts with the object.
By way of example, note how in Figure 1 the evolution of the fork influenced the evolution of the knife - and particularly how, as soon as the fork was able to adequately perform the holding function, the knife no longer needed to be pointed and became a much more friendly rounded shape.
With respect to the interaction between man and object, Petroski cites the lovely example of waste-paper bins, and the evolution of the now ubiquitous bin-liner. Bin-liners evolved from a desire to prevent soiling of the bin through the occasional disposal of organic or liquid based waste materials (Inventive Principle; Intermediary). But the emergence of bin-liners has now affected the way in which we use waste-paper bins - i.e. we now rarely think about what we put into the bin - more organic materials, more liquids, etc - which in turn has now created all sorts of other types of problems - like odour, seepage, leakage when the liner splits, vermin, etc. Not to mention the fact that the bin-liner itself - and particularly the way it inelegantly folds over the top of the bin - is apparently immune to elegant design solution.
Designers need to be aware of both of these symbiotic evolution effects.
3) Ideal Final Result - the final chapter of the Evolution of Useful Things is entitled ‘Always Room For Improvement’. In the chapter, Petroski makes a suggestion that any artefact is perpetually amenable to improvement. The basic idea thus fails to acknowledge the possibility of an ideal solution in which the function is achieved without the resource or penalties. Admittedly the TRIZ Ideal Final Result concept is often most useful as a problem definition or long term strategic visioning tool, but there are cases (e.g. Reference 6) in which the IFR is a practical, achievable possibility. The central difference in thinking here is that Petroski takes the traditional Western incremental evolution approach which uses today’s solution as its start point, whereas the IFR philosophy deliberately prompts the problem solver to put aside today’s baggage in order to envision what the ideal tomorrow might look like. The latter is quite probably the more powerful thinking strategy.
4) ‘Patent It Yourself’ - Professor Petroski’s book mentions David Pressman’s book ‘Patent it Yourself’ (Reference 7) with specific reference to that book’s description of the importance of impartially assessing the positive and negative aspects of any design. Pressman lists 44 positive and negative evaluation factors - covering a broad spectrum of parameters from cost, weight, size through to market dependence, distribution and service-ability. Although beyond the scope of this article, there are interesting comparisons to be made between Pressman’s list and the 39 elements of the Contradiction Matrix.
5) Good Problems - many of the examples given in Professor Petroski’s book are seen to still be some way away from what might be seen as their Ideal Final Result form. As such they present good material upon which inventors and problem solvers might care to propose improvements. The book catalogues a number of other such ‘good problems’ which would still clearly benefit from some new ideas. Included are:-
Perhaps there are opportunities here for TRIZ to help generate some novel solutions.
Conclusions
References