This article is an edited version of a paper of the same title presented at the US NFPA International Fluid Power Exposition, IFPE®2000 Technical Conference held in Chicago, April 4-6, 2000.
Darrell Mann
Industrial Fellow
Department of Mechanical Engineering
University of Bath
Bath, BA2 7AY, UK
Phone: +44 (1225) 826465
Fax: +44 (1225) 826928
E-mail: D.L.Mann@bath.ac.uk
Designers traditionally find themselves trying to perform a balancing act between conflicting design parameters; weight versus strength, speed versus life, efficiency versus complexity, or efficiency versus cost, to name but a few common trade-off scenarios. In each case, as the designer tries to improve one parameter, the other tends to get worse. Higher shaft speeds mean shorter bearing life, close tolerance gears in a gear pump mean greater pumping efficiency but higher manufacture cost, and so on.
The net result of these trade-off decisions is a product which ultimately satisfies no one.
Designers are generally able to design a system capable of achieving specified performance goals; lift a certain maximum load a certain distance at a certain speed. Designers are also generally able to understand that users never ultimately operate the system in the way they originally intended. They also understand that real systems made out of real materials will exhibit a degree of variation in the way they perform. Designers are generally able to specify and design to accommodate these variations. Some designers are also able to design a product to achieve a certain prescribed factory cost. This is a not inconsiderable achievement. Unfortunately, customer expectations are such that even this capability is no longer sufficient. Sophisticated customers are now demanding predictable life-cycle cost, a guaranteed life, a guaranteed maintenance-free period, or even, in some extreme cases, a guaranteed level of performance retention. In these circumstances, the designer is, generally speaking, struggling. In the design compromise trade-off scenario, because life issues are the least well understood, they tend to be the ones which receive least attention.
Unlike traditional design strategies, the Russian inventive problem solving method, TRIZ, (Reference 1,2) encourages designers to eliminate design compromises and trade-offs rather than accommodate them. Through 1500 person years of research and a comprehensive analysis of over 3 million of the world’s patents, TRIZ encapsulates the best compromise-eliminating practices of the world’s inventive minds.
Based on experiential evidence at the University of Bath, the four main sources of non-reliability in hydraulic systems are, in descending order of frequency:-
1) inadequate system specification
2) contamination-related problems
3) noise and vibration issues
4) leakage-related issues
Each of these is examined in the context of how TRIZ’s compromise-eliminating approach can help to shift the paradigm towards inherently more reliable, longer life system designs.
The basis of successful reliable designs rests with the ability to adequately separate specified parameters from the design features and system properties which together dictate how the system will behave. One such example, is the need to ensure adequate margin between design loads and the strength of the materials used in the design - as illustrated in Figure 1.
Both ‘design loads’ and the corresponding ‘material strength’ come attached to a degree of statistical variation. In very naive terms, if the designer is able to ensure there is no intersection between the two resulting statistical characteristics, the design will not fail.

Figure 1. Margin
Between Design Load and Material Strength
In many instances, the separation of design load and material strength is determined more by use of empirical rules of thumb, or ‘fudge factors’. In all instances, there are pressures which cause designers to reduce the separation between the two curves. These pressures are at root related to the need to continuously improve customer ‘value’. Value here following the Miles definition – now adopted widely into the TRIZ methodology – of customer benefits divided by the sum of harmful factors and cost.
The pressures impact on design margins in two ways. Firstly, in terms of increasing customer benefit, there come pressures to increase the load carrying capability of a system, and secondly, the designer is encouraged to reduce the cost of the system, usually by decreasing the amount of material used. The resulting effect is illustrated in Figure 2.

Figure
2. Net
Effect of Value Increase Drivers on Load/Strength Relationship
The net result of the two characteristics moving together is the emergence of the potential – in the area of curve intersection – for loads to exceed the capabilities of the system, and thus for the potential of a system failure.
In many senses, intersection of the load and strength curves is made inevitable through the combination of competition, driven primarily in today’s hydraulics industries by performance and cost, and the failure (on the part of customers usually) to appreciate that performance can only improve and cost reduce by so much before something – usually reliability – has to concede. And because the reliability issues may only become apparent two or three years downstream of the point of purchase, they inevitably receive least attention.
The issues surrounding the idea of conflicting customer drivers producing a limiting contradiction – increased performance plus reduced cost must ultimately equal reduced reliability – will be re-visited in a later section. In the meantime, it may be observed that the idea of designers trying to find an acceptable balance between conflicting parameters – as is the case in instances like the one described here – is the traditional way in which the design process is carried out. The designer may of course apply a number of techniques to improve the situation – cut off the low ends of the material strength characteristic through inspection, for example, or cut-off the high-end of the load characteristic by adding relief valves or other devices to the system. Either way, it is usually the case that designers accept these overall conflict trade-offs as inherent to the design process; accept that they are a ‘fundamental’ absolute.
The TRIZ design approach says that they are not. TRIZ contains the findings of those inventors who have identified and eliminated the contradictions.
The process by which TRIZ does this is best illustrated through an example. In keeping with the fact that leakage is an important source of unreliability, the example describes the case of a bolted flange joint between two pipe lengths.

Figure 3. Graphical
Representation of Technical Contradiction
With respect to a conventional flange joint design, several such conflict graphs may be depicted. For example, there are well-established design rules defining the number of bolts required around the joint to provide an adequate seal. The conflict here exists between the number of bolts used and the leakage performance of the flange. The task of the designer is then traditionally to find a balance between the two conflicting parameters. This process is illustrated in Figure 4.
The three main steps in the process are:-
(1) – The designer is under real pressure to minimise the number of bolts in the system in order to, amongst other things, minimise cost, minimise assembly time, and maximise the convenience of use to the customer.
(2) The inevitable result of this design intent is to worsen the likely reliability of the seal.
(3) The designer will aim for a compromise in which ‘acceptable’ seal performance is achieved, and the number of bolts is minimised.

Figure 4. Bolted
Flange: Traditional Design Rationale
The graph perhaps also begins to explain why so many flange joints leak. This is particularly apparent when aspects like the often poorly understood degradation of the flange performance over time are taken into account. I.e. what starts out as ‘acceptable’ sealing performance when the flange is new, turns into ‘unacceptable’ performance after the ravages of time and customer usage.
TRIZ encourages designers to identify and then seek to eliminate the sorts of conflict illustrated in Figure 3. The method has captured a generic problem solving framework through which a designer is able to map his or her own particular design conflict onto similar ones in which inventors have successfully overcome the design conflict.
In the case of the flange joint design, Reference 3 describes how TRIZ was used to break out of the traditional design trade-odd scenario to produce the paradigm-shifting design solution illustrated in Figure 5.

Figure 5: US
Patent: 5230540, ‘Fluid-Tight Joint With Inclined Flange Face
This design enables designers to achieve the same sealing performance as a conventional parallel-faced flange design with typically half the number of bolts.
In terms of the original, Figure 3, conflict representation, by simply introducing a small angle onto one of the flange faces, the designer has drawn a new improved characteristic relationship between the parameters – Figure 6.
The bolt number versus reliability contradiction still exists, of course, in the angled flange design. The point, however, is that TRIZ has changed the design paradigm by creating a new relationship between the two conflicting parameters (4). Successive application of the method – as illustrated in Figure 6 – moves the design towards a point where the contradiction is completely eliminated. The figure graphically illustrates the key difference between the TRIZ and traditional ‘design-is-a-trade-off’ design approaches.

Figure 6:
Difference Between TRIZ and Traditional
Design Approaches
The angled flange joint design solution shown above is certainly not a new one, and was known about in certain industries long before the gas-turbine industry re-invented it for themselves in the Figure 5 design.
The point here is that ‘good’ design solutions have a very strong tendency to travel only very slowly between different industry sectors.
This is a phenomenon long recognised by the Russian researchers who constructed the TRIZ methodology. They have sought to overcome the problem through a combination of capture of inventive ideas in a generically applicable sense, and a recognition of the need to find a way of classifying these ‘good’ design solutions in a manner which makes them accessible to other designers in whatever industry sector.
It is often the case currently that these good solutions travel badly even within their existing industry sectors. An example of this – and also incidentally an example of the Figure 6 idea of successive design paradigm shifts – is the conceptual V-Band clamp based design solution derived at Bath and illustrated in Figure 7.

Figure
7:
Possible Application of Inclined Flange Face
Concept to Other Design Solutions
Here, the design achieves a better flange joint which uses only one bolt, or, expressed another way, seals significantly better than a conventional V-band clamp design. It is also perhaps worth noting that there is no existing patent which covers this solution.
The angled-face/reduced contact area concept has also thus far failed to travel to other areas within and around the fluid power industry, despite the fact that there is no logical reason why it shouldn’t. Thought about in this way, there is no reason why the concept couldn’t similarly be deployed to significant beneficial effect in a whole host of fluid power industry applications from quick-release couplings to valve-block seals to hydraulic motor casings to actuator endcap designs… and so on.
The problem of poor knowledge transfer between subject areas and industry sectors is illustrated in Figure 8.

Figure
8:
Typical Fluid Power Industry Design Solution Search Space
The figure suggests that a designer working in the fluid power industry is highly unlikely to look outside his or her industry to find problem solutions. The phenomenon is understandable from a number of perspectives, not least of which is the fact that a good designer will often have trained and practiced for a considerable number of years in a particular discipline.
TRIZ calls this propensity to look for design solutions within the realms of our known experience ‘psychological inertia’ (Reference 5).
The flange joint example shows how TRIZ helps to overcome psychological inertia through a generic contradiction-eliminating problem solving framework. A second method is the more direct approach of expressing existing solutions in a form accessible to others. An alphabetic listing (for example) of all of the world’s good design concepts and solutions would probably be of very limited value; adequate if the designer was looking for other ‘flange’ designs, but wholly inadequate if the search was required to be more broad.
The principle, then, upon which TRIZ makes good designs accessible to others in whatever industry they might be, is to classify the solutions in terms of their function. Thought about in this manner, the designer is no longer looking for a ‘flange’ – a specific solution – but is looking for a ‘breakable joint’ – i.e. a generic function.
Several such functionally classified knowledge databases now exist. Probably the best of these databases is the one to be found in the Invention Machine TechOptimizerÒ software (Reference 6). The database found in the latest version of the software contains over 6000 physical, chemical and mathematical effects, and engineering design solutions, and by the end of the year will probably contain over 7500.
In the same way that ‘function’ is the common thread by which good design ideas can be transferred more readily between different industry sectors, the TRIZ Contradiction Matrix (Reference 2, 7) is the mechanism by which the contradiction-eliminating good practice of the world’s finest inventors is made accessible by designers working in other fields.
The Contradiction Matrix offers a generic problem solving tool in which the problem solver is required to map a specific problem into the generic 39x39 structure of the Matrix. The two sides of the Matrix comprise a list of 39 engineering parameters. ‘Reliability’ is one of the generic parameters contained in the list.
Analysis of the Matrix highlights an interesting trend in relation to how other inventors have sought to resolve reliability versus other parameter conflicts. Looking across all 38 of the other parameters in the Matrix with which Reliability can conflict – whether that be physical parameters, performance parameters, other ‘ility parameters, or manufacture related parameters – highlights the fact that only a relatively small proportion of the 40 Inventive Principles contained in TRIZ has been used by past inventors to ‘eliminate’ reliability-centred contradictions.
Based on the Contradiction Matrix analysis, the top six most common Inventive Principles used by inventors trying to eliminate reliability contradictions comprise, in descending order of frequency of use:-
35 - Change of Physical and Chemical
Parameters
(change of aggregate state, change of concentration or consistency, change of flexibility, or
change of temperature)
10 - Prior Action
(‘if your object is subjected to harmful factors of environment, create conditions that will protect the
object from those harmful factors beforehand’)
11 - Beforehand Cushioning
(‘if your object is unreliable, create conditions in advance that will protect the object’)
3 - Local Quality
(make the object non-uniform, make the environment non-uniform, if multiple functions are to be
performed, divide the object into parts according to those functions)
28 - Mechanics Substitution
(replace mechanical solutions with other physical solutions – acoustic, optical, magnetic, thermal,
etc)
40 - Composite Materials
(use composite materials instead of uniform ones.)
The other 34 Principles lag a long way behind. This is not to say that they have no value, just that to date, inventors have had most success with the above six strategies. It is interesting to note how some of the six might usefully be applied to the problem of improving the reliability of seals used in hydraulic systems. A generic rotating seals example will be used.
Traditional solutions to the ‘rotating seal’ functional requirement within the fluid power industry predominantly comprise of labyrinth, o-ring, brush, or designs containing a combination of these types. Whilst undoubtedly rugged (and cheap), these design solutions also help to explain why so many hydraulic systems suffer from leakage problems.
The most commonly applied Inventive Principle in the reliability context is to ‘change physical parameters’. This recommendation occurs from another TRIZ finding that a given material system hits fundamental limitations, such that, for example, a mechanical seal can only be improved so much before it hits a limit beyond which it cannot progress. In this case, it is the need to reduce clearances (and hence tighten manufacture tolerances) to a point which makes the system vulnerable to contaminants of an increasingly small size, and ultimately a size which cannot be filtered out (see later section on self-cleaning filter however) which fundamentally limits the capability of the seal. The ‘change physical parameters’ principle (indeed also the ‘mechanics substitution’ Principle also in the top six) suggests a move towards a non-mechanical solution.
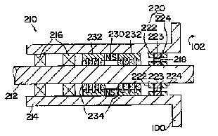
One such solution is illustrated in Figure 9.
This design solution – originally conceived for use in the laboratory high vacuum sector – may well be appropriate in some form in fluid power based applications.

Figure
9:
US Patent 5,799,951 Liquid Metal Rotating Seal
Similarly, other rotating seal solutions from other industries include the design – taken from the aerospace sector this time – illustrated in Figure 10. The concept makes effective use of a ferro-magnetic fluid to provided a seal during low pressure differential, low rotational speed operation, which then turns into a powerful centrifugal seal as duty increases.

Figure
10:
US Patent 4,455,026 Magnetic/Centrifugal Seal
Of course, there will need to be certain modifications to both such designs to accommodate the specific boundary conditions of the adopting industry sector, but there is no doubt that conceptually the above magnetic seal offers a highly rugged, affordable (particularly with a non-switched magnet), low friction, zero-fluid-loss solution to a variety of fluid power system design problems.
Coming back to the earlier point about knowledge transfer between industry sectors, it is instructive to observe how TRIZ encourages designers to look beyond the current industry design conventions. The Contradictions/Inventive Principles route provides ‘triggers’ to invention (how can ‘mechanics substitution be applied to this problem?’), or alternatively, the designer could have travelled the functionality route - establishing whether other industry sectors have found other, better ways of achieving the ‘rotating seal’ function – and arriving at the above two solutions that way.
Relationship Between Reliability and System Evolution S-Curve
All designers recognise the difficulties of designing reliability into an existing hydraulic system. The right time to think about reliability is at the drawing-board stage. This is of course unhelpful if the system is already out in the field.
An unfortunate paradox exists here between the need to design for reliability from day one, and the lack of interest of most customers in reliability until a technology is relatively mature (Reference 8). Figure 11 illustrates the point.
Figure 11:
Area in System Evolution where Reliability Issues Become Important
During the birth and growth phases of a system (or technology – we could relate the S-curve to mean hydraulics in general), designers and customers are both focused on, first making the system work at all, then working optimally, then maximising efficiency. Reliability considerations emerge only when the technology is relatively mature, and the scope of possibilities for further evolution is already limited. In other words because hydraulics is a relatively mature technology it is reaching its fundamental limits of advancement.
In terms of the trends of evolution predicted by TRIZ, hydraulic solutions supercede mechanical solutions. The inherently improved flexibility and reliability of hydraulics over a mechanical solution has been a major reason for the success of hydraulics. Now customer expectations on reliability are beginning to exceed the fundamental capability of hydraulic systems, the industry must look to markedly changing paradigms (Reference 9).
A good example comes in another of the main sources of non-reliability in hydraulic systems; that of contamination:
The previous seal discussion touched on another limiting contradiction relating to hydraulic systems, in which customer demands for increased system performance capability, operating efficiency and general ‘operability’ dictate the need for ever tighter manufacture tolerances and clearances between components.
In many applications the contradiction has reached a point where a system is now potentially at risk from contaminants as small as 1mm in diameter.
This in turn creates a very challenging contradiction with respect to the design of barrier filters: Fine mesh size will be good for trapping such small particles, but will block up potentially very quickly; coarse mesh size will have a long life but will not remove fine particles. In TRIZ terms, the barrier filter is more or less at its evolutionary limit, and no further progress in overall system reliability will come from barrier filters without solving the ‘mesh must be coarse AND fine’ contradiction.
The concept of a ‘self-cleaning’ filter overcomes the limiting contradiction by effectively beginning a new S-Curve. Referring back to the list of Inventive Principles used to solve reliability-centred problems, it is also encouraging to note that the conceptual self-cleaning filter being researched at the University of Bath uses two of the six Principles cited. More details of the filter may be found in Reference 10.
Limiting Contradictions
The idea of limiting contradictions is very important in the context of designing for reliability in the hydraulics field. This is particularly so with respect to early identification of areas which will hit their fundamental limits of capability.
Identification of limiting contradictions may be performed at various levels in a hydraulic system hierarchy – e.g. the filtration sub-system has a limiting contradiction in the same way that the whole system has.
At the whole-system level, it is possible to identify the limiting contradictions through an analysis of customer and manufacture design drivers. In the great majority of instances, these overall directions are ‘obvious’ – Figure 12.

Figure
12:
Mobile Hydraulics Application Design Directions
In a traditional design approach, the designer seeks to find the best compromise between the various conflicting parameters. In the context of ‘inadequate specification’ being the single biggest source of system unreliability, this trade-off process lays the foundations of the future reliability, and other system, limitations.
Analysis of a generic mobile hydraulics application sees the emergence of three potentially limiting contradictions:-
1) Pump ripple. Demands for increased reliability ultimately impact on the need to tackle the noise and vibration implications inherent to fixed displacement pumping systems. This contradicts with drives to reduce cost and complexity of the system. Solving noise and vibration issues through the traditional approach of adding parts to the system fundamentally (Reference 10) fails to tackle the contradiction. The TRIZ compromise-free solution of a ‘ripple-less’ pump is required if the contradiction is to be eliminated.
2) Valve Flow-Forces. Here the contradiction concerns the demand for increased operability versus, again, the need to reduce rather than increase system complexity. Traditional approaches say find an acceptable balance, the TRIZ approach says determine the actual function of a valve and eliminate the contradiction by designing a system which is both simple and inherently free of flow-forces.
3) Cooling Systems. In several mobile applications, the design of the cooling system has already become a limiting contradiction. The conflict here derives from the contradiction between simultaneous demands for increased system duty and decreased system size. The oil-cooler takes the brunt of this contradiction, because it has more work to do and less space in which to do it.
Fundamental improvements in the reliability of hydraulic systems will come only after these limiting or potentially limiting contradictions are overcome. They can only be overcome through the application of contradiction-eliminating techniques such as those found in TRIZ. All three are the subject of ongoing research at the University of Bath (Reference 10). Work on a novel contradiction-breaking heat exchanger concept transferable to hydraulic applications is described in Reference 11.
Inherent hydraulic system reliability levels are becoming progressively less acceptable to customers due to increasing maintenance-free operation and durability demands.
Reliability is best designing into a system at the drawing-board stage. In this case, and also cases where a system is already in service and its reliability is found to be unacceptable, significant design paradigm shifts are required if overall reliability levels are to be noticeably improved.
Current design methods do not appear to offer adequate answers. The existing design paradigms are approaching the limits of their capability. New paradigms are required if significantly better solutions are to be achieved.
Tools contained in the TRIZ inventive problem solving methodology – particularly those associated with the identification and ‘elimination’ of ‘limiting contradictions’ – offer significant potential for shifting design paradigms to allow the realisation of significantly more reliable hydraulic systems.
Like many other industry sectors, the fluid power industry is guilty of failing to take maximum advantage of the good design solutions obtained in other sectors, despite the fact that the functions being sought – e.g. ‘seal’ – are commonly very similar.
The TRIZ methodology, coupled with emerging function based ‘knowledge management’ capabilities, provides a basis upon which the good solutions from other industries can be made readily accessible to fluid power industry companies.
Novel static and rotating seal design concepts, building on paradigm-shifting TRIZ and knowledge transfer principles, have been suggested.
Limiting contradictions for a generic mobile hydraulics application have been identified, and contradiction-eliminating conceptual design solutions have been suggested.
Altshuller, G., 'Creativity As An Exact Science', (New York, Gordon And Breach, 1988.)
Salamatov, Y., ‘TRIZ: The Right Solution At The Right Time’, Insytec BV, The Netherlands, 1999.
Mann, D.L., ‘Case Studies In TRIZ: Halving The Number Of Bolts Around A Flange Joint’, TRIZ Journal, www.triz-journal.com, October 1998.
Mann, D.L., ‘Contradiction Chains’, TRIZ Journal, January 2000.
TRIZ Journal Special Psychological Inertia issue, August 1998.
www.invention-machine.com
Domb, E. ‘Contradiction Matrix’, TRIZ Journal, June 1998.
Mann, D.L., ‘Using S-Curves and Trends of Evolution in R&D Strategy Planning’, TRIZ Journal, July 1999.
Mann, D.L., ‘TRIZ-Based Root Cause Failure Analysis For Hydraulic Systems’, paper presented at ASTM Conference on Hydraulic System Failure, STP1339, Reno, December 1999.
Mann, D.L., ‘Design Without Compromise: A New Perspective On Fluid Power System Component Design’, paper presented at PTMC99 International Workshop, Bath, September 1999.
Busov, B., Mann, D.L., Jirman, P., ‘Case Studies In TRIZ: A Novel Heat Exchanger’, TRIZ Journal, December 1999.